1. 技术内容
装配整体式叠合混凝土结构体系采用“空腔+搭接+后浇”结构技术。应用空腔叠合混凝土构件(双面叠合墙、叠合柱、叠合梁、叠合板等)或成型钢筋骨架+定型模板,构件连接采用钢筋套筒机械连接或间接搭接,空腔内后浇混凝土,形成叠合受力体,共同承受竖向及水平作用,整体性能好。

(a)钢筋焊接网片 (b)钢筋网片与纵筋连接 (c)成型钢筋骨架
图1 成型钢筋骨架及成型工艺
混凝土壳 + 成型钢筋骨架 + 混凝土壳 = 叠合剪力墙构件

混凝土壳体 + 成型钢筋骨架 = 叠合柱构件
图2 叠合构件
1.叠合内墙板构件。由两层预制板和成型钢筋骨架制作而成。内部放置成型钢筋骨架,通过翻转设备(或免翻转设备)浇筑两层预制板,预制板通过成型钢筋骨架连接。叠合剪力墙利用两外侧预制部分作为模板,中部现浇层与叠合楼板的现浇层同时浇筑。

图3 叠合内墙板构件2. 三明治叠合外墙板构件。预制部分由外页板、保温板、墙体内壳组成。墙体内壳自带成型钢筋骨架,其中外页板、保温板、墙体内壳由保温连接件连接在一起。

图4 三明治叠合外墙板构件3. 叠合柱。采用模壳的形式,内部放置由焊接箍筋网片和柱纵筋组成的柱成型钢筋骨架,柱的四面浇筑混凝土,模壳既充当钢筋保护层参与受力,又充当后浇筑混凝土模板。

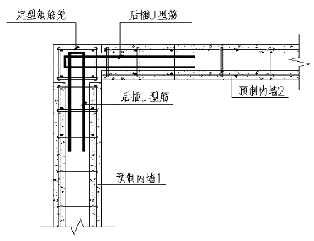
图5 叠合柱构件4. 典型连接节点。叠合剪力墙边缘构件范围内均采用成型钢筋骨架,辅助定型模板,减少现场钢筋、模板工作量及人工用量。剪力墙竖向连接采用钢筋搭接方式,质量可靠易检。

(a)内墙一字型水平连接节点 (b)外墙一字型水平连接节点

(c)内墙L型水平连接节点 (d)内墙T型水平连接节点

(e)外墙L型水平连接节点 (f)外墙T型水平连接节点

(g)内墙竖向连接节点 (h)外墙竖向连接节点
(i)叠合梁柱连接节点 (j)叠合梁柱连接节点A-A剖面图
图6 叠合混凝土结构典型连接节点
2. 技术指标
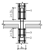
装配整体式叠合混凝土结构的设计应符合国家现行标准《装配式混凝土建筑技术标准》GB/T 51231和《装配式混凝土结构技术规程》JGJ 1中的规定。作为混凝土结构的一种类型,装配整体式叠合混凝土结构在设计和施工中应该符合现行国家标准《混凝土结构通用规范》GB 55008、《混凝土结构设计规范》GB 50010、《混凝土结构施工规范》GB 50666、《混凝土结构工程施工质量验收规范》GB 50204中各项基本规定。装配整体式叠合混凝土结构可依据的现行地标或团体标准有:《装配整体式叠合混凝土结构技术规程》DBJ61/T 183、《装配整体式钢筋焊接网叠合混凝土结构技术规程》T/CECS 579、《装配整体式叠合混凝土结构地下工程防水技术规程》T/CECS 832。装配整体式叠合混凝土结构的关键技术指标如下:1. 叠合墙下部支撑宜通过设置垫片实现,垫片高度通常为50mm,墙板长度<4m时,宜放置2组垫片,墙板长度≥4m时,应放置不少于3组垫片。2. 叠合墙安装就位后应及时采取临时固定措施。每个叠合墙的临时支撑不宜少于2道;叠合墙上部斜支撑距离底部的距离不宜小于高度2/3,且不应小于高度1/2;下部短支撑距离楼面高度,宜为构件高度的1/5。3. 叠合墙安装就位后,应先将水平连接钢筋放置到墙体空腔内,再进行边缘构件后浇混凝土部位的钢筋安装,最后将水平连接钢筋拉出,与边缘构件部位钢筋绑扎牢固。4. 空腔混凝土应分层浇筑、振捣,每层浇筑高度不宜超过1m,上层混凝土应在下层混凝土初凝前进行浇筑,振动棒的前端应插入前一层混凝土中,插入深度不应小于50mm;振捣宜选用φ30mm及以下的小直径高频振动棒。
3. 技术优势
采用“空腔搭接加后浇”的方式,解决装配式混凝土建筑的竖向结构技术痛点,实现了“墙柱梁板全预制、地上地下全装配”。1. 结构构件自重更轻。新型装配整体式叠合混凝土结构通过融合叠合柱、叠合梁、双面叠合墙、叠合板,相比较传统实心预制柱、墙与叠合楼板、梁的组合方式,主要受力构件均自重更轻,便于运输与吊装,对塔吊和其他起重设备的最大吊起重量要求较低。2. 连接方式更加有效。新型装配整体式叠合混凝土结构构件连接均采用钢筋套筒机械连接或间接搭接,不设置预埋套筒,可有效解决灌浆套筒连接的质量隐患,从而保证施工质量。3. 现场施工安全可靠。新型装配整体式叠合混凝土结构可减少高空作业,增加施工安全性。空腔内浇混凝土,形成叠合受力体,整体安全,防水性能好。4. 可实现智能化设计和自动化生产。研发了智能化设计软件SPCS+PKPM,实现了预制构件智能设计、快速计算等,生成BOM清单及加工数据能够对接国产平台和国产装备,实现自动化生产、全流程在线管理。
4. 适用范围
装配整体式叠合混凝土结构适用于抗震设防烈度为8度及以下地区框架、框剪、剪力墙框架-核心筒等结构形式的地上及地下建筑。